Konfiguration und Struktur korrekt?

coddatec
Beiträge: 11
Registriert: Do Mär 13, 2025 10:06 pm
Been thanked: 3 times

Re: Konfiguration und Struktur korrekt?

Beitrag von coddatec »

openWB hat geschrieben: Fr Mär 14, 2025 10:35 pm Eigentlich sollte es passen wenn openWB den Hausverbrauch berechnet und ein Virtueller Zähler oberhalb von Shelly / openWB ist.
Das ist leider nicht der Fall, siehe Posting vom 14.03., 8:15Uhr.

Dann wohl eher Support-Ticket anstelle Forumsabfrage?
ChristophR
Beiträge: 1524
Registriert: So Okt 30, 2022 8:07 am
Has thanked: 101 times
Been thanked: 149 times

Re: Konfiguration und Struktur korrekt?

Beitrag von ChristophR »

coddatec hat geschrieben: Fr Mär 14, 2025 11:32 pm
openWB hat geschrieben: Fr Mär 14, 2025 10:35 pm Eigentlich sollte es passen wenn openWB den Hausverbrauch berechnet und ein Virtueller Zähler oberhalb von Shelly / openWB ist.
Das ist leider nicht der Fall, siehe Posting vom 14.03., 8:15Uhr.

Dann wohl eher Support-Ticket anstelle Forumsabfrage?
Wenn Du die Wallbox unter den Shelly ziehst (nicht eingerückt), passt es dann vielleicht?
openWB Series 2 Standard+, SW-Version 2
SolarEdge SE10K-RWS, BYD LVS 8, 16,8 kWp.
CUPRA Born
aiole
Beiträge: 8831
Registriert: Mo Okt 08, 2018 4:51 pm
Has thanked: 192 times
Been thanked: 228 times

Re: Konfiguration und Struktur korrekt?

Beitrag von aiole »

coddatec hat geschrieben: Fr Mär 14, 2025 11:32 pm
openWB hat geschrieben: Fr Mär 14, 2025 10:35 pm Eigentlich sollte es passen wenn openWB den Hausverbrauch berechnet und ein Virtueller Zähler oberhalb von Shelly / openWB ist.
Das ist leider nicht der Fall, siehe Posting vom 14.03., 8:15Uhr.

Dann wohl eher Support-Ticket anstelle Forumsabfrage?
Die Entwicklung liest hier öfter mal mit und auch die Foren-Supporter sind sehr fachkundig. Dahingehend sollte man erstmal hier alles probieren.

Als erstes würde ich das System updaten. 2.1.7-patch1 ist draußen.
!vorher Backup ziehen!


Die Nutzung der "exotischen" HV-Messung ist noch jung. Ich überlege, ob dort die PV-Messung unter dem HV-Zweig integriert war oder standardmäßig davor eingebunden wurde - schließlich ging es bei den Exoten um reinen HV.

Die Struktur sollte passen, nur das Ergebnis ist noch nicht wie gewünscht. Lustigerweise sind EVU und PV im Diagramm ok.

Erschwerend kommt bei dir hinzu, dass der Shelly kein Original EVU-Kit bzw. WR-eigener EVU-Zähler ist und nochmal eine weitere Fehlerquelle (Vorzeichen?) darstellen kann.
Gero
Beiträge: 4926
Registriert: Sa Feb 20, 2021 9:55 am
Has thanked: 63 times
Been thanked: 334 times

Re: Konfiguration und Struktur korrekt?

Beitrag von Gero »

Ich denke, Christophs Tip mit dem rausziehen der openWB auf das selbe Niveau wie den Shelly ist gut. (So habe ich es ja auch oben geschrieben, nur nicht gemerkt, dass die openWB mit „im Shelly ist“)

Letzten Endes ist das, was du in der Struktur einstellst ja die Formel. Der Zähler oben drüber fasst alle darunter befindlichen Komponenten zusammen. Die Vorzeichen ergeben sich aus der Art der Komponente: Erzeugung ist negativ, Verbrauch positiv)

Was genau die nicht-99%-Option macht, weiss ich auch nicht. Gerade weil ich über deinen Fall etwas länger nachgedacht habe und weil openWB geschrieben hat, dass das ohne gehen sollte, kommen mir nun Fragen, was genau diese Option tun.

Mit dem „Debugging“ der Einstellungen tust du dich übrigens leichter, wenn du auf die Status-Seite kuckst. Da stehen die aktuellen Messwerte im Klartext und du musst nicht warten, bis der Graph was zeigt.
openWB-pro+, openWB-Buchse, E3/DC S10pro+19.5kWh, 30kWp Ost-Süd, Model 3 und Ion
openWB
Site Admin
Beiträge: 10044
Registriert: So Okt 07, 2018 1:50 pm
Has thanked: 143 times
Been thanked: 342 times

Re: Konfiguration und Struktur korrekt?

Beitrag von openWB »

Was genau die nicht-99%-Option macht, weiss ich auch nicht.
Es gibt den seltenen Fall (unter 1%)
Das es einen WR gibt, eine openWB und davon losgelöst einen Zähler der dediziert nur den Hausverbrauch berechnet.

Ich meine das war ein Sonderfall bei SolarLog oder so.
Supportanfragen bitte NICHT per PN stellen.
Hardwareprobleme bitte über die Funktion Debug Daten senden mitteilen oder per Mail an support@openwb.de
aiole
Beiträge: 8831
Registriert: Mo Okt 08, 2018 4:51 pm
Has thanked: 192 times
Been thanked: 228 times

Re: Konfiguration und Struktur korrekt?

Beitrag von aiole »

openWB hat geschrieben: Sa Mär 15, 2025 7:41 am
Was genau die nicht-99%-Option macht, weiss ich auch nicht.
Ich meine das war ein Sonderfall bei SolarLog oder so.
Direkte HV-Messung: früher Fronius, Kostal und heute oft noch bei Sonnen.
coddatec
Beiträge: 11
Registriert: Do Mär 13, 2025 10:06 pm
Been thanked: 3 times

Re: Konfiguration und Struktur korrekt?

Beitrag von coddatec »

ChristophR hat geschrieben: Fr Mär 14, 2025 11:46 pm Wenn Du die Wallbox unter den Shelly ziehst (nicht eingerückt), passt es dann vielleicht?
Meinst Du so?
Screenshot 2025-03-15 130049.png
Screenshot 2025-03-15 130049.png (12.5 KiB) 2827 mal betrachtet
Ändert ja eigentlich nichts an der Struktur, die ich schon hatte.
aiole hat geschrieben: Sa Mär 15, 2025 12:46 am Als erstes würde ich das System updaten. 2.1.7-patch1 ist draußen.
!vorher Backup ziehen!
Update auf 2.1.7-Patch.1 ist erfolgt, ohne Änderung des Verhaltens
aiole hat geschrieben: Sa Mär 15, 2025 12:46 am Die Struktur sollte passen, nur das Ergebnis ist noch nicht wie gewünscht. Lustigerweise sind EVU und PV im Diagramm ok.

Erschwerend kommt bei dir hinzu, dass der Shelly kein Original EVU-Kit bzw. WR-eigener EVU-Zähler ist und nochmal eine weitere Fehlerquelle (Vorzeichen?) darstellen kann.
Wenn das Vorzeichen falsch wäre, dann würde die Ladung an PV-Grenze ja nicht korrekt funktionieren. Das ist aber iO.
Insgesamt ändert das Update und die obige Anpassung der Struktur nichts am Problem.
Screenshot 2025-03-15 130557.png
Screenshot 2025-03-15 130557.png (72.45 KiB) 2827 mal betrachtet
Funktional ist das ja erstmal nicht problematisch. PV-Laden funktioniert top.
Ich werd bei Zeiten mal einen Elektriker beauftragen, entweder die PV aus dem Shelly rauszunehmen, so dass die drei komponenten parallel auf einer Ebene sind, oder die WB auch mit in den Messkreis reinzunehmen, so dass ich keinen virtuellen Zähler für den EVU brauche.

Danke auf jeden Fall für eure Debug-Hilfe.
Werd das restliche Wochenende nicht mehr dazu kommen, weitere Analysen / Tests zu machen
krebs8
Beiträge: 506
Registriert: Mi Dez 23, 2020 1:38 pm
Has thanked: 34 times

Re: Konfiguration und Struktur korrekt?

Beitrag von krebs8 »

Ich greife mal wieder meine Konfiguration/das eigentliche Thema auf, das mittlerweile ja gekapert wurde.

"Die Spitzen kommen zu 99% wegen verzögerten Daten. Bei großen Lastsprüngen kommt es dann zu diesem Effekt."
"Und mit einem Smartmeter im EVU-Punkt wäre es besser, da schneller als ein S0-Zähler oder wäre das ähnlich? "
"Ja, hängt vermutlich mit dem S0-Zähler zusammen. Liegt an der S0-Schnittstelle."

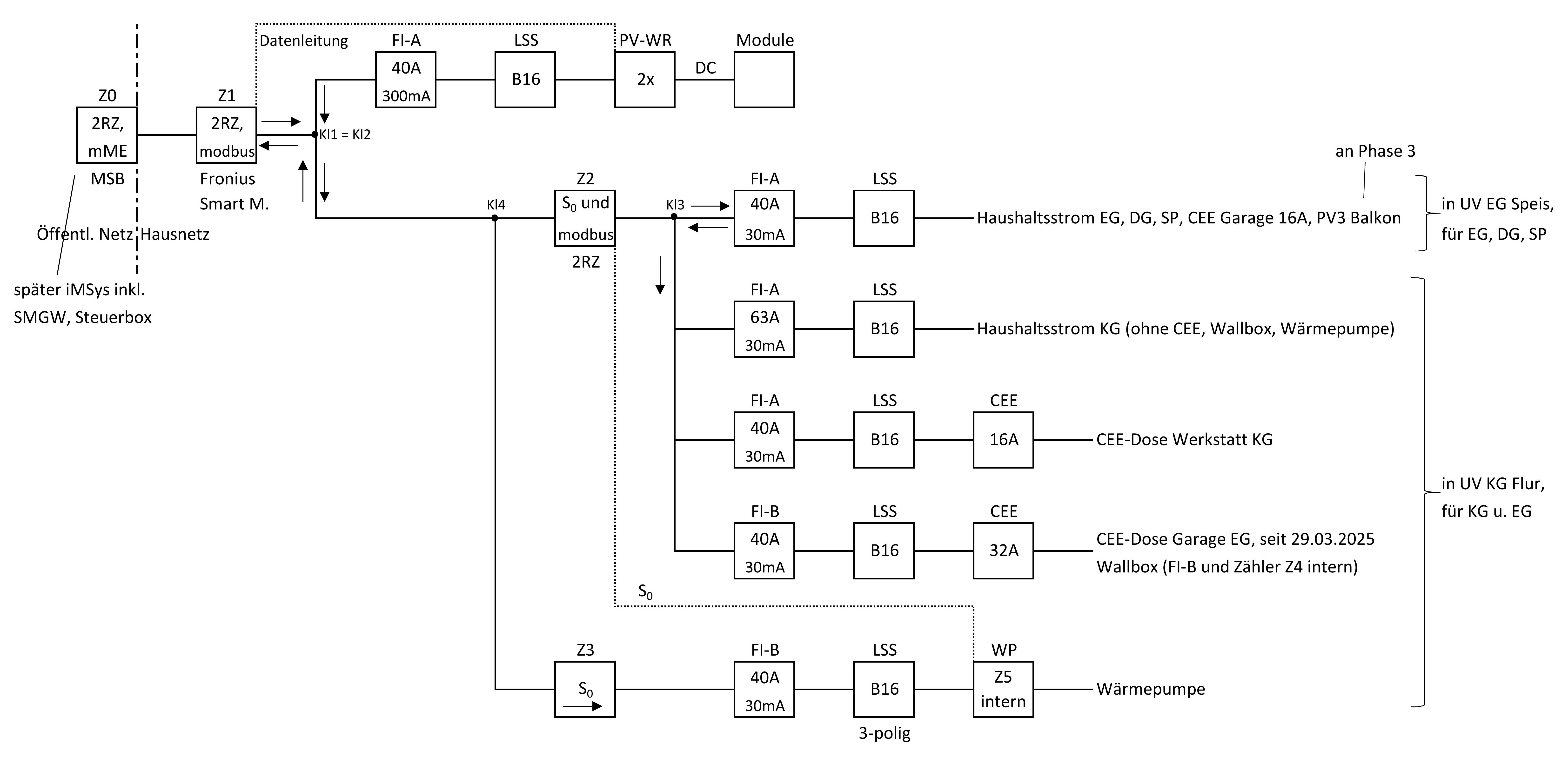
Weil also so wie z.B. oben zitiert immer wieder mein S0-Zähler im Verbrauchszweig moniert wurde, habe ich mir nun doch einen Fronius Smart Meter TS65A-3 im Einspeisepunkt einbauen lassen und die entsprechenden Einstellungen in WR, WP und oWB vorgenommen. Die beiden anderen Zähler habe ich wie im Bild umbauen lassen. Z2 (der frühere Z1) ist der Modbus-Zähler Eastron SDM72DM-V2, der wohl nicht Fronius-kompatibel ist. Z3 ist der frühere Z2.
openWB hat geschrieben: Mi Jan 29, 2025 5:39 pm Du wirst ein Problem mit der PV3 hinter dem S0 bekommen.
Sowohl im Fronius werden Daten falsch sein als auch in der openWB. Und zwar immer wenn die Erzeugerleistung von PV3 höher ist als der Hausverbrauch.

Das kannst du nur beheben in dem du den s0 Zähler gegen einen Modbus Zähler tauscht der fronius kompatibel ist.
Genau so ist es nun. Wenn PV3 mehr produziert als im Haus verbraucht wird, steht bei oWB Hausverbrauch=0W.

Wie müsste man einen kompatiblen Zähler Z2 dann an den Symo anschließen und was einstellen? Eine S0-Leitung muss ja bereits vom Z2 zur WP gehen.

Und gibt es statt dass ich noch einen Fronius-Zähler kaufen muss, vielleicht doch noch eine andere Möglichkeit so ähnlich wie hier? https://www.photovoltaikforum.com/threa ... martmeter/ "Hoymiles Mikrowechselrichter mit OpenDTU lässt sich hiermit als "Fronius Smart Meter (TCP)" in einen Gen24 Wechselrichter einbinden (ohne zusätzliches Smartmeter) - es stimmt dann auch der "Verbrauch" wieder"
(Ich habe aber keinen Gen24, sondern einen Symo Snapinverter und keinen Hoymiles Micro-WR, sondern einen Growatt NEO)
Dateianhänge
Test.jpg
(1.07 MiB) Noch nie heruntergeladen
openWB series2 standard+, PV ohne Speicher
ChristophR
Beiträge: 1524
Registriert: So Okt 30, 2022 8:07 am
Has thanked: 101 times
Been thanked: 149 times

Re: Konfiguration und Struktur korrekt?

Beitrag von ChristophR »

Aus openWB Sicht würde es reichen, wenn Du PV3 z.B. mit einem Shelly misst, damit der Hausverbrauch stimmt.
Ob Du auch am Fronius den korrekten Hausverbrauch benötigst und was man dort einstellen müsste kann ich nicht sagen.
openWB Series 2 Standard+, SW-Version 2
SolarEdge SE10K-RWS, BYD LVS 8, 16,8 kWp.
CUPRA Born
krebs8
Beiträge: 506
Registriert: Mi Dez 23, 2020 1:38 pm
Has thanked: 34 times

Re: Konfiguration und Struktur korrekt?

Beitrag von krebs8 »

Es sollte schon an beiden korrekt sein.
openWB series2 standard+, PV ohne Speicher
Antworten